当前位置: 首页 > 产品大全 > 污泥床装置与化学混凝污泥悬浮床在含油污水处理中的创新应用及流量计与节流装置的研发进展

污泥床装置与化学混凝污泥悬浮床在含油污水处理中的创新应用及流量计与节流装置的研发进展

污泥床装置与化学混凝污泥悬浮床在含油污水处理中的创新应用及流量计与节流装置的研发进展

含油污水处理一直是工业环保领域的重要课题。随着环保要求的日益严格,高效、节能的处理技术成为研究热点。污泥床装置及其化学混凝污泥悬浮床处理技术,结合先进的流量计与节流装置的研发,正为含油污水处理提供创新解决方案。

一、污泥床装置及其化学混凝污泥悬浮床处理技术

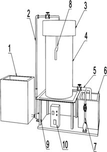
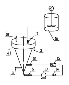
污泥床装置是一种利用活性污泥或固定化微生物进行污水处理的反应器,其核心在于通过悬浮的污泥颗粒吸附和降解污染物。在含油污水处理中,污泥床通过物理截留和生物降解作用,有效去除油类物质。化学混凝污泥悬浮床则在此基础上引入混凝剂,如聚合氯化铝或聚丙烯酰胺,通过混凝作用使微小油滴和悬浮物聚集成较大絮体,从而增强污泥床的分离效率。这一方法结合了化学混凝的快速沉淀优势和生物处理的深度净化能力,具有处理效率高、占地面积小、运行成本相对较低的优点。

在实际应用中,污泥悬浮床通过优化污泥浓度、水力停留时间和混凝剂投加量,可实现对含油污水的高效处理。研究表明,该技术对油类去除率可达90%以上,同时能降低COD和悬浮物含量,适用于石油化工、机械加工等行业的废水处理。

二、流量计与节流装置的研发进展

流量计与节流装置在含油污水处理系统中扮演着关键角色,直接影响处理效率和运行稳定性。传统的流量计如涡街流量计或电磁流量计,在含油介质中易受油污黏附影响,导致测量精度下降。为此,研发新型流量计成为当务之急。例如,超声波流量计利用声波传播原理,非接触式测量,避免了油污干扰,具有高精度和长寿命的特点;而科里奥利质量流量计则能直接测量质量流量,不受流体物性变化影响,适用于含油污水的精确计量。

节流装置如控制阀和孔板,用于调节系统流量和压力,确保污泥床的稳定运行。研发重点在于提高耐磨性和抗腐蚀性,以适应含油污水的苛刻环境。智能节流装置结合传感器和自动控制技术,能实时调节开度,优化处理流程,降低能耗。这些创新不仅提升了处理系统的可靠性,还为自动化管理奠定了基础。

三、技术整合与未来展望

将污泥床装置与化学混凝污泥悬浮床处理技术,与先进的流量计及节流装置相结合,可构建智能化的含油污水处理系统。通过实时监测流量和污泥状态,系统能自动调整混凝剂投加和污泥回流,实现高效、节能运行。随着物联网和人工智能技术的发展,这一领域有望实现全自动化控制和远程监控,进一步提升处理效果和经济性。

污泥床装置及其化学混凝污泥悬浮床方法,配合流量计与节流装置的持续研发,为含油污水处理提供了高效、创新的路径,推动工业环保向绿色、智能化方向迈进。

如若转载,请注明出处:http://www.hbybllj.com/product/67.html

更新时间:2026-05-11 22:01:25

产品列表

PRODUCT